Jiangsu Huafilter Hydraultic Support Co., LTD.
Jiangsu Huafilter Hydraultic Support Co., LTD.
Бүтээгдэхүүн
Бүтээгдэхүүн
Дэлбэрэлтийн даралттай даралтын хөнгөлөлтийн хавхлага dbe
  • Дэлбэрэлтийн даралттай даралтын хөнгөлөлтийн хавхлага dbeДэлбэрэлтийн даралттай даралтын хөнгөлөлтийн хавхлага dbe

Дэлбэрэлтийн даралттай даралтын хөнгөлөлтийн хавхлага dbe

Model:Explosion-proof Pressure Relief Valve DBE
• Бүтээгдэхүүний онцлог: өсгөгчийн төрөл vt-2000
• Техникийн байдал: Дэлбэрэлтийн эсрэг даралтын хөнгөлөлтийн хавхлага,
• Аппликешнүүд: Өрөмдлөгийн платформ цэврүүгийн үлээгчээс урьдчилан сэргийлэх (BOP), доош нүхний хэрэгсэл,

Дэлбэрэлтийг баталгаажуулах тусламжийн хавхлага нь шатамхай, тэсрэх орчинд чиглэсэн, тэсрэх орчинд чиглэсэн хавхлаг, Пропорционал хавхлага DBE DBE нь суурилуулсан механик тусламжийн хөнгөлөлт, хүч унтрах үед аюулгүй даралтыг автоматаар шилжүүлнэ. Хавхлагын үндсэн дээр элэгдэлд тэсвэртэй бүрхүүл нь үйлчилгээний амьдралыг өргөжүүлж чадна.

Дэлбэрэлтийн эсрэг талын даралтын даралтын хавхлага 

Шингэн NBR ба FKM SEATION-д зориулагдсан эрдэс тос
FOSPHATE ESTER нь FKM SEAL
Шингэний температурын хүрээ ℃ -30-аас +80 (NBR лац)
-20 хүртэл +80 (FKM лац)
Наалдамхай маягийн мм2/ / s 2.8-аас 380
Соел ± 3.5%
Аль бүлн уулзалт <± 2%
Цахилгаан
Цахилгаан эх үүсвэр Дьс
Min.solenoid гүйдэл 100
Max.solenoid гүйдэл 800
Ороомог эсэргүүцэл 19.5Ω at 20℃, Max.warm value:28.8Ω
Ажлын маягт Үргэлжилсэн
Max.working environmental temperature + 50 ℃
Дин 40 050-т инонуляци хийх IP65

Бүтээгдэхүүний онцлог, дэлбэрэлтийн шинж тэмдгийн тусламжийн хөнгөлөлтийн хавхлага dbe

Онцлог:

-Субуб-хавтангийн суурилуулалт:

- Хийггэхийн тулд хэв маягийг DIE2 240 маягт e ба Iso 6264

- олон талт суурилуулах зорилгоор

- 4 даралтын үнэлгээ

- Max. pressure limitation , optional

- Охидын төрөл vt-2000 (тусад нь захиалах ёстой)

Хэрэг програм:

Бэсэг дэлбэрэлтийн даралтын хөнгөлөлтийн хавхлага нь өрөмдлөгний цахилгаан хэрэгсэл, байгалийн хийн өрөө, далайн өрөмдийг судлах, байгалийн цооног төхөөрөмжийн долгионы тоног төхөөрөмж, ол нэр хадгалах тоног төхөөрөмж, байгалийн архины төхөөрөмж, гүнзгий дугуйн тоног төхөөрөмжийг ашиглаж болно.

Жишээ:

Дэлбэрэлт-нотолгоо plc → дэлбэрэлт пропорциональ өсгөгч → dbe хавхлага → гидравлик актуал

                                         X↑текст

                  Дэлбэрэлт-нотолгооны даралтын мэдрэгч (санал хүсэлт)


Функц ба дэлбэрэлтийн эсрэг даралтын тусламжийн хөнгөлөлтийн хавхлага

Дэлбэрэлтийн эсрэг даралтын даралтын хөнгөлөлтийн хавхлага dbe dbe бол нисгэгчийн нисгэгч нь туршилтын тусламжийн халдлагад хүргэдэг. Энэ нь цахилгаан гидравлик системд даралтыг цахилгаан дохиоллоор тасралтгүй тохируулахад ашигладаг.

Үндсэндээ эдгээр хавхлагууд (1) Проулят хавхлага (2) -ийг пропорциоид (2) пропорциоид (2) -аас бүрддэг.

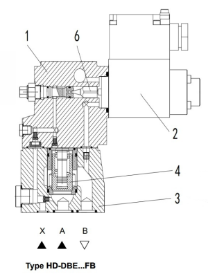
HD-DBE-г бичнэ үү ... fb

Даралтын хязгаар нь цахилгаан одоогийн үнэ цэнтэй холбогдож, пропорциональ Соленоид (2) -г тогтооно. Системийн даралтыг үндсэн дамар (4) -д хэрэглэнэ. Үүний зэрэгцээ дарамт шахалтыг (4), нисгэгчийн Poil (6) -ийг (6) нисгэгчийн Poil (6) нисгэгчийн хаваалтын хавчлан (5). Хэрэв гидравлик хүч нь solenoid хүчнээс хэтэрсэн бол нисгэгчийн попет (6) нээгдэнэ. Туршилтын шингэн нь гол дамараас үүдэлтэй сав, даралтын уналтад буцааж урсаж болно. Дараа нь үндсэн дамар (4) суваг руу шилжүүлэгчээс сав руу нээгдэнэ.


Бэлэглэх нь Дэлбэрэлтийн даралттай даралтын хөнгөлөлтийн хавхлага dbe






Hot Tags: Дэлбэрэлт үүссэн даралттай даралттай даралтын хавхлага, Хятад, үйлдвэрлэгч, үйлдвэрлэгч, үйлдвэрлэгч, үйлдвэрлэгч, үйлдвэрлэгч, үнэ, үнэ, үнэ
Лавлагаа илгээх
Холбоо барих мэдээлэл
Гидравлик хавхлага, солениодын чиглэлийн хавхлага, пропорциональ хавхлага эсвэл үнийн жагсаалттай холбоотой лавлагаа авахыг хүсвэл бидэн рүү имэйлээ үлдээнэ үү, бид 24 цагийн дотор холбогдох болно.
X
We use cookies to offer you a better browsing experience, analyze site traffic and personalize content. By using this site, you agree to our use of cookies. Privacy Policy
Reject Accept